Thiết bị đóng cửa tự động
| Vật liệu: Hợp kim nhôm |
| Hoàn thiện: Màu bạc |
| Đặc tính |
| Kiểm định theo tiêu chuẩn EN 1154 |
| Đạt chứng nhận CE |
| Có thể điều chỉnh lực đóng |
| Có thể điều chỉnh lực phản |
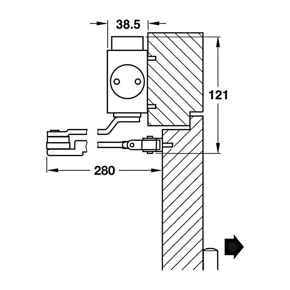
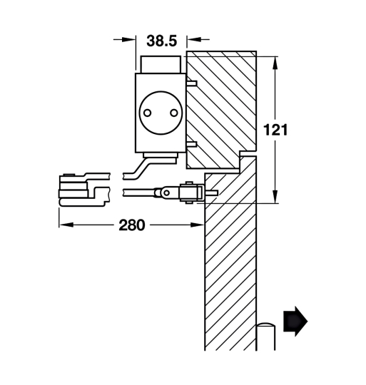
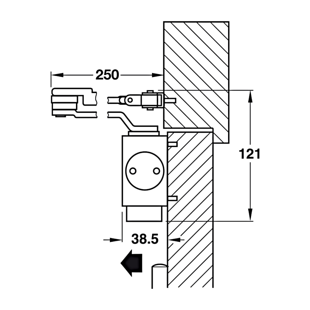
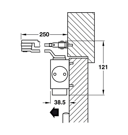
| Thông tin kỹ thuật |
| Lực đẩy EN2 - EN5 |
| Chiều rộng cửa 750 - 1,250 mm |
| Trọng lượng cửa tối đa 100 kg |
| Góc mở tối đa 180° |
| Góc giữ cửa 70° - 150° |